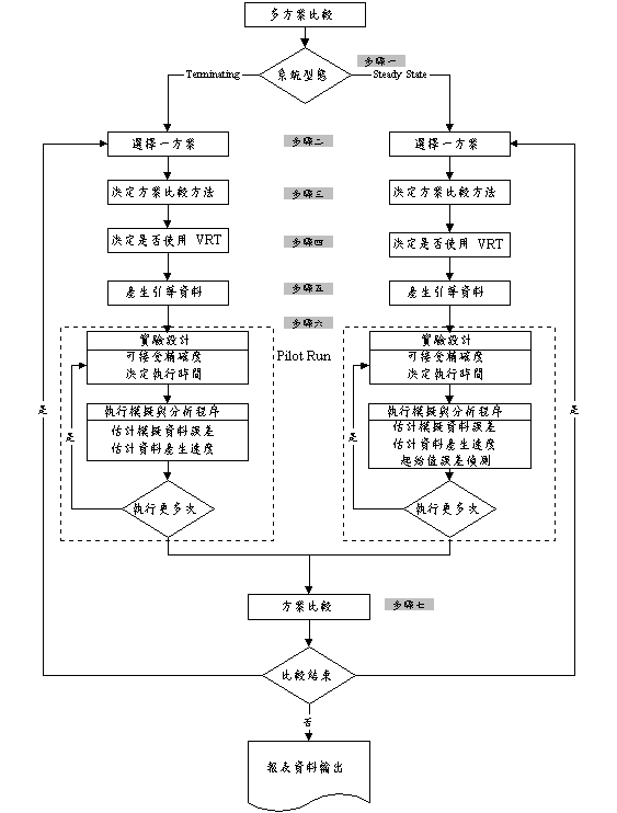
解題策略 > 解題流程 >
                教學系統之學習環境設計主要是在模擬系統模型
        構建完成後開始,。本學習環境設計流程以多方案比較
        為主,系統若為單一系統則可從實驗設計部份開始,方
        案比較一部份則可省略。本系統之學習環境設計主要教
        授漸序式系統模擬實驗設計與分析之解題觀念

        以節省系統模擬之實驗時間。

 

 



回上一頁